Introduzione al prodotto
Le rotaie pesanti GB hanno un peso teorico maggiore o uguale a 50 kg per metro come specifica di base e sono realizzate in acciaio al carbonio di alta qualità o acciaio a bassa lega. Durante il processo di produzione, devono passare attraverso il convertitore in acciaio, perfezionando fuori dal forno, fusione continua e altri processi di fusione per garantire che la purezza della billetta d'acciaio soddisfi lo standard; Quindi sono arrotolati e formati da rondine caldi ad alta precisione e le tolleranze dimensionali dell'altezza della rotaia, della larghezza inferiore, della larghezza della testa, ecc. Sono rigorosamente controllate all'interno della gamma standard nazionale. I prodotti finiti devono superare più test come il rilevamento degli ultrasuoni dei difetti e i test di trazione. Hanno alta resistenza, elevata resistenza all'usura e buona tenacità e sono ampiamente utilizzati negli scenari di trasporto come ferrovie a tronco e ferrovie a carico pesante.
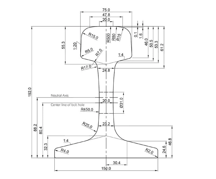
I binari che pesano 75 kg per metro sono binari pesanti, solitamente utilizzati per linee di baule di ferrovie, ferrovie per impieghi pesanti o binari speciali (come miniere, porti, ecc.). La durezza e la tenacità delle rotaie sono migliorate attraverso il rotolamento caldo, il tempra e altri processi. Ad esempio, le "binari estinti a lunghezza intera" possono migliorare significativamente la resistenza all'usura.

Prestazioni chiave
● Resistenza alla trazione: maggiore o uguale a 880 MPa (U71mn come esempio), assicurando che possa resistere ai carichi del treno.
● Resistenza all'usura: la durezza superficiale (come la durezza di Brinell) può raggiungere 280-350 HB, riducendo l'usura su ruote e tracce.
● Resistenza alla fatica: adattarsi al rotolamento ripetuto per treni e ridurre il rischio di cracking della pista.
Specifiche del prodotto

Applicazione del prodotto


Packaging e consegna del prodotto
Nell'imballaggio e il trasporto del commercio estero di binari pesanti GB, la rettamento in acciaio è il passo più semplice e critico. Ogni gruppo di {{0}} pesanti binari viene prima prefissata su entrambe le estremità delle binari con fili di acciaio di spessore moderato per prevenire la dislocazione durante il trasporto, quindi incrociato con cinghie di acciaio di 16-19 mm di larghezza. La forza di serraggio delle cinghie di acciaio è controllata a 1200-1500 n per garantire che i binari non si allenino durante il caricamento, lo scarico e il trasporto. Dopo aver completato il raggruppamento, spruzzare immediatamente l'olio anti-russo. Dopo che l'olio anti-russa è completamente penetrato ed essiccato, l'intero fascio di binari è strettamente avvolto da un film di plastica di 0. 1-0. 15 mm di spessore per prevenire l'umidità e la polvere.


Gnee Rail si concentra sulla fornitura di soluzioni materiali a tutto tondo per la costruzione di transiti ferroviari internazionali. Abbiamo costruito un sistema industriale completo da appalti, produzione e lavorazione della materia prima alla distribuzione globale e i nostri prodotti hanno superato molteplici certificazioni internazionali come ISO9001. Abbiamo un team di commercio internazionale professionale in grado di fornire soluzioni di prodotto personalizzate in base ai requisiti del progetto dei clienti e fare affidamento su una rete logistica globale per ottenere una consegna efficiente. Con anni di esperienza nel settore, abbiamo istituito una rete di servizi che copre i principali mercati e ci siamo impegnati a fornire ai clienti servizi di fornitura di prodotti ferroviari a ciclo completo.







Etichetta sexy: Acciaio ferroviario di tipo pesante da 75 kg, China 75 kg di produttori di acciaio ferroviario di tipo pesante, fornitori, fabbrica






